|
|
オリオン機械スーパードレンフィルターLSF150B
オリオン機械のスーパーラインフィルターLSF シリーズは 1μm 以上の不純物の除去を目的としたエアーフィルターです。
スーパーラインフィルターでクリーンなエアーに!
製造メーカー
製品の特長
- 1μm 以上の固形物を除去。
- 処理空気量:1.2 m3/min
- 入気温度:5〜60℃
スーパーフィルター LSF シリーズ特長
- クラス初のステンレス容器を標準採用(400-1 以上)
- クランプジョイント方式を標準採用(400-1〜2000-1)
- バンド構造の採用により、従来のフランジ方式に比べハウジングの取り外し作業を簡素化
- 新開発エレメント採用により耐水性能の向上を実現(当社従来比 200%)
- 圧力範囲拡大(75B〜250B)
- タイロッド接続(75B〜250B)
- 口径選択可能(400,1000)
製品の仕様
| 型番 |
LSF150B |
| 処理空気量 |
1.2 m3/min |
| 使用範囲 |
使用流体 |
圧縮空気 |
| 使用圧力範囲(ゲージ圧力) |
0.05〜1.57 MPa |
| 入気温度/周囲温度範囲 |
5〜60 ℃/2〜60 ℃ |
| 性能 |
ろ過度/補集効率 |
1 μm / 99.999 % |
| 圧力損失 |
初期:0.005 MPa |
| エレメント交換時期 圧力損失 ※1 |
MAX:0.07 MPa |
| エレメント交換時期 使用期間 ※1 |
1年 |
| 主要寸法 |
差圧計接続口径 |
Rc1/4 |
| 配管接続口径(B・A) |
Rc3/8 |
| ドレン排出口口径 |
Rc1/4、外形φ16 |
| 質量 |
1.0kg |
| オートドレントラップ型式 |
NH-503MR(内蔵) |
| エレメント |
形式:ELS150 |
| 使用本数:1本 |
※1圧力損失もしくは使用期間のいずれか早い方で交換をお願いします。
*交換エレメントは「ELS150」になります。
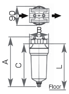
外形寸法図
| 型式 | A | B | C | L |
| LSF150B | (237mm) | 92mm | 204.5mm | 300mm 以上 |
|
・[品番]商品名
|
[LSF150B]
オリオン機械スーパードレンフィルターLSF150B
|
|
・商品価格
|
34,799
円/
(うち消費税額3,163円)
|
|
・規格
|
仕様:処理空気量:1.2m3/min
定価:
納期:
|
|
・在庫
|
在庫あり
|
|
・カテゴリ
|
オリオン機械 スーパードレンフィルターLSFシリーズ
|
|
|
|
|
この商品をお求めの方はこちらの商品もご注文頂いています。
|
|
|
|